工業移動登高平台,檢修平台,工業梯台,跨線橋,飛機烏檢修平台,工業踏步台,登高平台梯,工業扶梯等,根據行業內喜好叫的名字,大家可以理解成都是用來爬高使用的,做這些框架的立柱,橫梁型材都很好選擇,根據尺寸大小有很多型材可以用,就是框架上方的踏板一直用的定製型材。市場需求多了,於是就生產了踏板鋁型材,下麵就來給大家介紹一下踏板鋁型材常規型號有哪些?
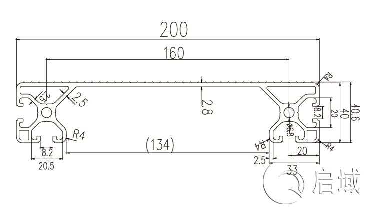
踏板鋁型材是工業檢修平台專用型材,常規型號有兩種分別是:歐標40200型材和歐標40240型材,下圖就是這兩款型材的圖紙和圖樣,大家可以看看。主要用於工業扶梯踏步走台係統的設計搭建。
大家在來看看這幾張圖,就是用這兩款型材做的檢修平台登高梯,就是用5050型材和50100型材搭配踏板鋁型材進行連接而成。踏板鋁型材表層防滑條紋設計可以起到防滑功能,它和其它常規型材也是一樣的材質,用的6063-T5材質,也是經過陽極氧化處理的,具有較強的抗氧化能力。
以上是對踏板鋁型材規格做了簡單介紹,希望文中內容能幫得到大家。上海香蕉视频色版APP專業型材及配件,10餘年的行業經驗,合作企業5000+,定製框架案例豐富,可提案例參考,有專業技術人員團隊,來圖來樣可按需定製工業檢修平台。
踏板鋁型材是工業檢修平台專用型材,常規型號有兩種分別是:歐標40200型材和歐標40240型材,下圖就是這兩款型材的圖紙和圖樣,大家可以看看。主要用於工業扶梯踏步走台係統的設計搭建。
大家在來看看這幾張圖,就是用這兩款型材做的檢修平台登高梯,就是用5050型材和50100型材搭配踏板鋁型材進行連接而成。踏板鋁型材表層防滑條紋設計可以起到防滑功能,它和其它常規型材也是一樣的材質,用的6063-T5材質,也是經過陽極氧化處理的,具有較強的抗氧化能力。
以上是對踏板鋁型材規格做了簡單介紹,希望文中內容能幫得到大家。上海香蕉视频色版APP專業型材及配件,10餘年的行業經驗,合作企業5000+,定製框架案例豐富,可提案例參考,有專業技術人員團隊,來圖來樣可按需定製工業檢修平台。




滬公網安備31011702001213號
掃一掃,關注手機站